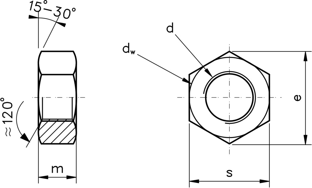
This specification covers metric threaded full hex nuts with a fine pitch thread. These items are a standard part available from Westfield Fasteners. The basis of this specification is the DIN standard DIN 934.

| Thread, d | M8 | M10 | M12 | M14 | M16 | M18 | M20 | M22 | M24 | M27 | M30 | M33 | M36 | M39 | |
|---|---|---|---|---|---|---|---|---|---|---|---|---|---|---|---|
| Fine Pitch Threads | M8x1 | M10x1 | M12x1.5 | M14x1.5 | M16x1.5 | M18x1.5 | M20x2 | M22x1.5 | M24x2 | M27x2 | M30x2 | M33x2 | M36x3 | M39x3 | |
| - | M10x1.25 | M12x1.25 | - | - | M18x2 | M20x1.5 | M22x2 | - | - | - | - | - | - | ||
| (Standard Pitch) | 1.25 | 1.5 | 1.75 | 2 | 2 | 2.5 | 2.5 | 2.5 | 3 | 3 | 3.5 | 3.5 | 4 | 4 | |
| da | min | 8 | 10 | 12 | 14 | 16 | 18 | 20 | 22 | 24 | 27 | 30 | 33 | 36 | 39 |
| max | 8.75 | 10.8 | 13 | 15.1 | 17.3 | 19.5 | 21.6 | 23.7 | 25.9 | 29.1 | 32.4 | 35.6 | 38.9 | 42.1 | |
| dw | min | 11.3 | 15.3 | 17.2 | 20.2 | 22.2 | 25.3 | 28.2 | 29.5 | 33.2 | 38 | 42.7 | 46.6 | 51.1 | 55.9 |
| e | min | 14.38 | 18.90 | 21.10 | 14.49 | 26.75 | 29.56 | 32.95 | 35.03 | 39.55 | 45.2 | 50.85 | 55.37 | 60.79 | 66.44 |
| m | nom=max | 6.5 | 8 | 10 | 11 | 13 | 15 | 16 | 18 | 19 | 22 | 24 | 26 | 29 | 31 |
| min | 6.14 | 7.64 | 9.64 | 10.3 | 12.3 | 14.3 | 14.9 | 16.9 | 17.7 | 20.7 | 22.7 | 24.7 | 27.4 | 29.4 | |
| s | nom=max | 13 | 17 | 19 | 22 | 24 | 27 | 30 | 32 | 36 | 41 | 46 | 50 | 55 | 60 |
| min | 12.73 | 16.73 | 18.67 | 21.67 | 23.67 | 26.16 | 29.16 | 31 | 35 | 40 | 45 | 49 | 53.8 | 58.8 | |