This specification covers metric threaded full hex nuts with a left hand thread. These items are a standard part available from Westfield Fasteners. The basis of this specification is the DIN standard DIN 934.
Designed for fitment with a spanner or ratchet with socket, and can be used in conjunction with hexagon left handed thin nuts in a "locking" formation for a more secure fitment.
Left handed hex nuts are also known as reverse nuts and are used where rotational forces and vibration could encourage a right handed nut to loosen. An example of use would be to retain a lawn mower's blade.
This standard generally applies to the usual right hand metric thread versions with a standard metric coarse pitch, as well as various fine pitches. This standard is also used for left hand thread items, both standard metric coarse covered here, and any fine pitch left hand versions that might be available.

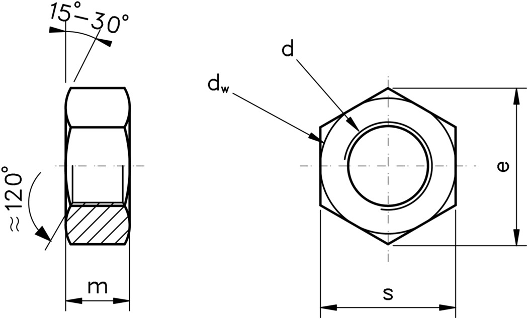
| Thread, d | M3 | M4 | M5 | M6 | M8 | M10 | M12 | M14 | M16 | M18 | M20 | M22 | M24 | M27 | M30 | |
|---|---|---|---|---|---|---|---|---|---|---|---|---|---|---|---|---|
| Standard Pitch, p | 0.5 | 0.7 | 0.8 | 1.00 | 1.25 | 1.5 | 1.75 | 2 | 2 | 2.5 | 2.5 | 2.5 | 3 | 3 | 3.5 | |
| da | min | 3 | 4 | 5 | 6 | 8 | 10 | 12 | 14 | 16 | 18 | 20 | 22 | 24 | 27 | 30 |
| max | 3.45 | 4.6 | 5.75 | 6.75 | 8.75 | 10.8 | 13 | 15.1 | 17.3 | 19.5 | 21.6 | 23.7 | 25.9 | 29.1 | 32.4 | |
| dw | min | 4.5 | 5.8 | 6.8 | 8.8 | 11.3 | 15.3 | 17.2 | 20.2 | 22.2 | 25.3 | 28.2 | 29.5 | 33.2 | 38 | 42.7 |
| e | min | 6.01 | 7.66 | 8.79 | 11.05 | 14.38 | 18.90 | 21.10 | 14.49 | 26.75 | 29.56 | 32.95 | 35.03 | 39.55 | 45.2 | 50.85 |
| m | nom=max | 2.4 | 3.2 | 4 | 5 | 6.5 | 8 | 10 | 11 | 13 | 15 | 16 | 18 | 19 | 22 | 24 |
| min | 2.15 | 2.9 | 3.7 | 4.7 | 6.14 | 7.64 | 9.64 | 10.3 | 12.3 | 14.3 | 14.9 | 16.9 | 17.7 | 20.7 | 22.7 | |
| s | nom=max | 5.5 | 7 | 8 | 10 | 13 | 17 | 19 | 22 | 24 | 27 | 30 | 32 | 36 | 41 | 46 |
| min | 5.32 | 6.78 | 7.78 | 9.78 | 12.73 | 16.73 | 18.67 | 21.67 | 23.67 | 26.16 | 29.16 | 31 | 35 | 40 | 45 | |