This product guide contains the specification for metric threaded heavy hex nuts, a series of standard parts available from Westfield Fasteners. The basis of this specification is the UNI standard UNI 5587.
This high type nut is also known as a heavy hexagon nut. It follows the same dimensions as the usual DIN 934 hex full nut, but the thickness of the nut is greater. This gives the nut greater strength and thread engagement, making the joint more robust. The extra height of the nut makes them less likely to loosen or separate, as well as making it easier for the wrench to grip the nut, which in turn, allows for more torque to be applied.
UNI 5587 thick hex nuts are commonly used for high load applications, and in situations with high temperature, high pressure or with flanged joints, which have a greater clamping force.
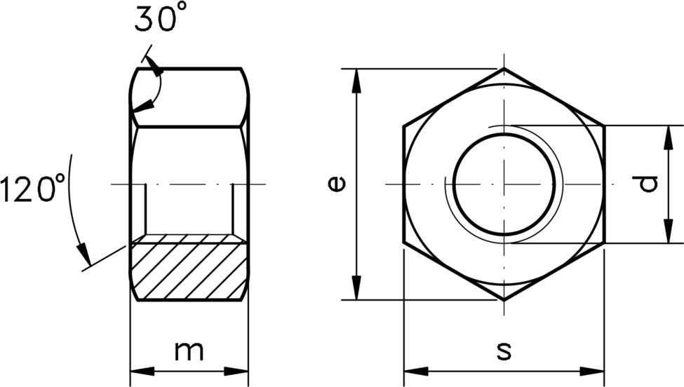
UNI is the Italian national standards body, and is responsible for the specification of this style of nut in their standard number UNI 5587. Figure 1 together with table 1 below outline the dimensions and tolerances.
Standard UNI 5587 has now been withdrawn and replaced with UNI EN 24033 for standard pitch variants, whilst fine pitch is covered in UNI EN 28674. However, parts are still manufactured and distributed to the older standard.
Material properties for these nuts are specified in UNI EN 20898, UNI 7323 and UNI 5705.

| Thread, d | Standard Pitch, p | e | m | s |
|---|---|---|---|---|
| min | nom=max | nom=max | ||
| M3 | 0.5 | 6.08 | 3 | 5.5 |
| M4 | 0.7 | 7.74 | 4 | 7 |
| M5 | 0.8 | 8.87 | 5 | 8 |
| M6 | 1.0 | 11.05 | 6 | 10 |
| M7 | 1.0 | 12.12 | 7 | 11 |
| M8 | 1.25 | 14.38 | 8 | 13 |
| M10 | 1.5 | 18.90 | 10 | 17 |
| M12 | 1.75 | 21.10 | 12 | 19 |
| M14 | 2.0 | 24.49 | 14 | 22 |
| M16 | 2.0 | 26.75 | 16 | 24 |
| M18 | 2.5 | 30.14 | 18 | 27 |
| M20 | 2.5 | 33.53 | 20 | 30 |